SCALE-iFlex LT NTC
用於透過電氣介面驅動具有負溫度係數 (NTC) 溫度感測功能的半橋式功率模組的雙通道隨插即用閘極驅動器
應用
|
產品
|
產品
|
產品規格型錄
|
IGBT電壓等級
|
驅動器監控
|
支持的模組
|
模組外殼
|
IGBT製造商
|
支持的模組種類
|
技術
|
保護功能
|
支持的拓撲
|
最大開關頻率
|
保形塗層?
|
通道數
|
輸出功率/通道 - 最大
|
封裝
|
驅動模式
|
電源電壓 (典型)
|
閘極峰值電流 (最大)
|
閘極導通電壓
|
閘極關斷電壓
|
邏輯輸入電壓
|
電壓 - 直流母線關閉狀態, 60秒
|
電壓 - 直流母線切換
|
並行支持?
|
隔離技術
|
隔離類型
|
接口類型
|
IGBT的連接類型
|
主/外圍
|
運作溫度 (最小)
|
運作溫度 (最大)
|
存儲溫度(最低)
|
存儲溫度(最高)
|
|
|---|---|---|---|---|---|---|---|---|---|---|---|---|---|---|---|---|---|---|---|---|---|---|---|---|---|---|---|---|---|---|---|---|---|---|---|
|
Data Sheet
View Data Sheet
|
IGBT Voltage Class
1200 V, 1700 V, 3300 V
|
Driver Monitoring
NTC
|
|
|
|
Supported Module Type
IGBT, 碳化矽
|
Technology
SCALE-2
|
Protection Features
高級有源鉗位, 過壓, 短路, 欠壓(次級側), 欠壓(初級側)
|
Supported Topologies
兩電平電壓源, 三電平NP鉗位 - 類型1, 三電平NP鉗位 - 類型2
|
Max Switching Frequency
25.0 kHz
|
Conformal Coated?
Yes
|
Number of Channels
15
|
Power - Output/Channel (Max)
5.5 W
|
Package
電路板
|
Driving Mode
直接獨立
|
Supply Voltage (Typ)
24 V
|
|
Gate Turn-on Voltage
+15.0 V
|
Gate Turn-off Voltage
-10.0 V
|
Logic Input Voltage
15
|
Voltage - DC Link Off state (60s)
2200 V
|
|
Paralleling Support?
Yes
|
Isolation Technology
電隔離
|
Isolation Type
加強型
|
Interface Type
電氣
|
Connection Type to IGBT
直接
|
Main/Peripheral
無
|
Temperature - Operating (Min)
-40 ℃
|
Temperature - Operating (Max)
85 ℃
|
Temperature - Storage (Min)
-40 ℃
|
Temperature - Storage (Max)
50 ℃
|
|
||
|
Data Sheet
View Data Sheet
|
IGBT Voltage Class
2300 V
|
Driver Monitoring
NTC
|
Supported Module(s)
2MBI1200XZF230-50
|
Module Housing
XHP™2
|
IGBT Manufacturer
Fuji
|
Supported Module Type
IGBT
|
Technology
SCALE-2
|
Protection Features
高級有源鉗位, 過壓, 短路, 欠壓(次級側), 欠壓(初級側)
|
Supported Topologies
兩電平電壓源, 三電平NP鉗位 - 類型1, 三電平NP鉗位 - 類型2
|
|
Conformal Coated?
Yes
|
Number of Channels
15
|
Power - Output/Channel (Max)
1.0 W
|
Package
電路板
|
Driving Mode
直接獨立
|
Supply Voltage (Typ)
15 V
|
Gate Peak Current (Max)
+20 A
|
Gate Turn-on Voltage
+15.0 V
|
Gate Turn-off Voltage
-9.4 V
|
|
|
Voltage - DC Link Switching
1800 V
|
Paralleling Support?
Yes
|
Isolation Technology
電隔離
|
Isolation Type
加強型
|
Interface Type
電氣
|
Connection Type to IGBT
直接
|
|
Temperature - Operating (Min)
-40 ℃
|
Temperature - Operating (Max)
85 ℃
|
Temperature - Storage (Min)
-40 ℃
|
Temperature - Storage (Max)
85 ℃
|
|
||
|
Data Sheet
View Data Sheet
|
IGBT Voltage Class
2000 V
|
Driver Monitoring
NTC
|
Supported Module(s)
CM1200DW-40T
|
Module Housing
XHP™2
|
IGBT Manufacturer
Mitsubishi
|
Supported Module Type
IGBT
|
Technology
SCALE-2
|
Protection Features
高級有源鉗位, 過壓, 短路, 欠壓(次級側), 欠壓(初級側)
|
Supported Topologies
兩電平電壓源, 三電平NP鉗位 - 類型1, 三電平NP鉗位 - 類型2
|
|
Conformal Coated?
Yes
|
Number of Channels
15
|
Power - Output/Channel (Max)
1.0 W
|
Package
電路板
|
Driving Mode
直接獨立
|
Supply Voltage (Typ)
15 V
|
Gate Peak Current (Max)
+20 A
|
Gate Turn-on Voltage
+15.0 V
|
Gate Turn-off Voltage
-9.4 V
|
|
|
|
Paralleling Support?
Yes
|
Isolation Technology
電隔離
|
Isolation Type
加強型
|
Interface Type
電氣
|
Connection Type to IGBT
直接
|
|
Temperature - Operating (Min)
-40 ℃
|
Temperature - Operating (Max)
85 ℃
|
Temperature - Storage (Min)
-40 ℃
|
Temperature - Storage (Max)
85 ℃
|
|
||
|
Data Sheet
View Data Sheet
|
IGBT Voltage Class
1700 V
|
Driver Monitoring
NTC
|
Supported Module(s)
FF1800XTR17T2P5
|
Module Housing
XHP™2
|
IGBT Manufacturer
Infineon
|
Supported Module Type
IGBT
|
Technology
SCALE-2
|
Protection Features
高級有源鉗位, 過壓, 短路, 欠壓(次級側), 欠壓(初級側)
|
Supported Topologies
兩電平電壓源, 三電平NP鉗位 - 類型1, 三電平NP鉗位 - 類型2
|
|
Conformal Coated?
Yes
|
Number of Channels
15
|
Power - Output/Channel (Max)
1.0 W
|
Package
電路板
|
Driving Mode
直接獨立
|
Supply Voltage (Typ)
15 V
|
Gate Peak Current (Max)
+20 A
|
Gate Turn-on Voltage
+15.0 V
|
Gate Turn-off Voltage
-9.4 V
|
|
|
Voltage - DC Link Switching
1250 V
|
Paralleling Support?
Yes
|
Isolation Technology
電隔離
|
Isolation Type
加強型
|
Interface Type
電氣
|
Connection Type to IGBT
直接
|
|
Temperature - Operating (Min)
-40 ℃
|
Temperature - Operating (Max)
85 ℃
|
Temperature - Storage (Min)
-40 ℃
|
Temperature - Storage (Max)
85 ℃
|
|
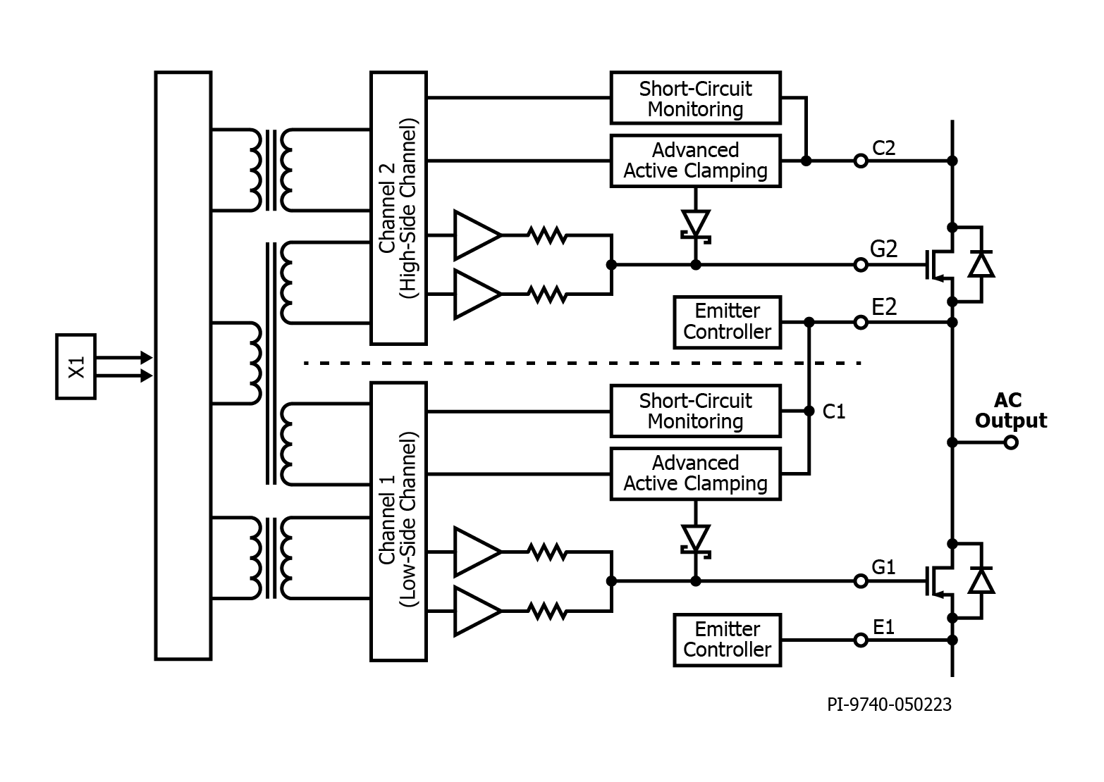
SCALE-iFlex LT NTC 屬於雙通道隨插即用閘極驅動器系列,用於透過電氣介面驅動具有負溫度係數 (NTC) 溫度感測功能的半橋式功率模組。它可以輕鬆並聯功率模組,以實現高靈活性和系統擴充性。
SCALE-iFlex LT NTC 閘極驅動器系列由一個隔離主控制 (IMC) 裝置 (支援多達四個模組適配的閘極驅動器 (MAG)) 以及一組纜線所組成。
IMC 可操作額定阻隔電壓高達 3300 V 的功率模組。MAG 與來自各個供應商的特定功率模組相符。
